关键字:空气清新器电路图
一、功能用途
除对空气进行过滤,达到净化空气,除烟、除尘、除异昧的目的外,还可以产生负氧离子。负氧离子通过呼吸道进入人体,可以改善和加强心肺功能,负氧离子在清洁的空气中能存在5~6分钟,在很污浊的空气中存活的时间很短,大约一分钟。因此,使用时尽量靠近人的呼吸区,以达到更好的效果。
二、负离子空气清新器工作原理和安装
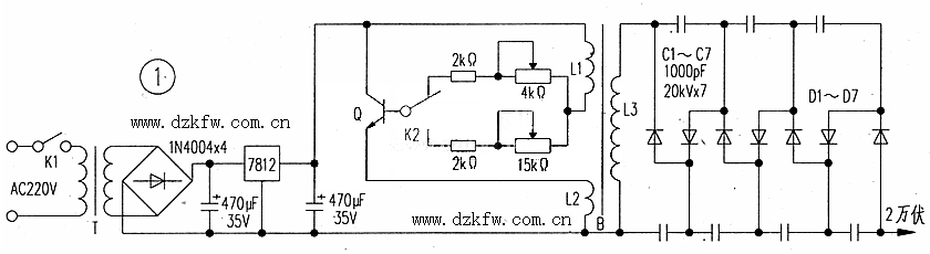
笔者采用高压尖端放电的方法,使空气电离而产生负氧离子的原理,自制了离子发生器,也就是负离子空气清新器。电路见图1。电源变压器T次级输出的18W交流电压经桥式整流、三端稳压块7812稳压、电容滤波后,输出11.5v直流电压供给电感式振荡器。振荡管Q使用高β大功率晶体管,如3DD200、C5148、D1185等,且要加散热片。高频磁芯的高压包组件,电子市场可以找到,也可用14英寸以上黑白电视机分立式高压包。初级用原骨架L1:Φ0.46mm×45T.L2:Φ0.21mm×90T.L3:Φ0.11mm×2000T。高压包次级输出线圈连接高压。二极管D1~D7和高压电容C1~C7组成七倍压整流电路,输出直流高压大约2万多伏,经放电针对空气放电。倍压整流电路和高频变压器用环氧树脂胶灌注在一起,没有条件也可以用松香熔化后灌注。
笔者把全部元件安装在原14英寸电脑显示器的外壳里。放电针用6cm长的大马针掐去4cm多余部分,按每条8个针等份烫压在长24cm、宽2cm、厚6mm的有机玻璃条上,针尖8mm长露在外面,针尾用细铜线串联焊好,露线部分用高压绝缘胶添平。全屏上下共分五条,用高压绝缘线上下串联接在高压输出端。有打火处用绝缘胶封好。如图3所示。
三、空气清新器电路调整测试
接通电源,靠近离子发生器,有很强的离子风,如用绝缘起子靠近放电针,有放电弧光并听到“啪啪”声响。改变K2,可调负离子的强弱,如采用图2所示电源电路,调整取样电位器R10可大范围细调负离子由小到大的输出。如用试电笔靠近放电针,氖灯中产生放电电流,使氖灯闪烁发光,其闪烁频率与负离子输出量成正比,与发射窗口距离成反比,同时也可定性地比较,你所制作的负氧离子发生器的负氧离子输出量。若是在距离子机窗口10cm以外闻不到鱼腥气味,则说明臭氧浓度不超标,也就是臭氧浓度小于0.12mg/m3,请放心,对人身体净化器的周围容易积攒灰尘,应该及时清除.离子机要和电脑主机有两米以上的距离,以免干扰和损坏元件.开机时要注意不要触摸放电针,以免输出高压误击伤人。


返回顶部
刷新页面
下到页底