这是一个金属探测电路,它可以隔着地毯探测出地毯下的硬币或金属片。这个小装置很适合动手自制。
一、元器件的准备
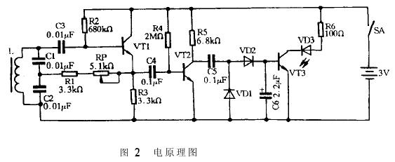
电路中的NPN型三极管型号为9014,三极管VT1的放大倍数不要太大,这样可以提高电路的灵敏度。VD1-VD2为1N4148。电阻均为1/8W。
金属探测器的探头是一个关键元件,它是一个带磁心的电感线圈。磁心可选Φ10的收音机天线磁棒,截取15mm,再用绝缘板或厚纸板做两个直径为20mm的挡板,中间各挖一个Φ10mm的孔,然后套在磁心两端,如图1 所示。最后Φ0.31的漆包线在磁心上绕300匝。这样做的探头效果最好。如果不能自制,也可以买一只6.8mH的成品电感器,但必须是那种绕在“工”字形磁心上的立式电感器,而且电感器的电阻值越小越好。
二、电路的制作与调试
图2是金属探测器电原理图,图3是它的电路板安装图,图4是它的电路板元件安装图。组装前将所用元器件的管脚引线处理干净并镀上锡。对照三个图,依次将电阻器、二极管、电容器、三极管、发光二极管、微调电阻器焊到电路板上,再将电感探头、开关、电池夹连接到电路板上。电路装好,检查无误就可以通电调试。接通电源,将微调电阻器RP的阻值由大到小慢慢调整,直到发光二极管亮为止。然后用一金属物体接近电感探头的磁心端面,这时发光二极管会熄灭。调整微调电阻器RP可以改变金属探测器的灵敏度,微调电阻器RP的阻值过大或过小电路均不能工作。如果调整得好,电路的探测距离可达20mm。但要注意金属探测器的电感探头不要离元器件太近,在装盒时不要使用金属外壳。必要时也可以将金属探测器的电感探头引出,用非金属材料固定它。
三、电路工作原理
金属探测器电路中的主要部分是一个处于临界状态的振荡器,当有金属物品接近电感L(即探测器的探头)时,线圈中产生的电磁场将在金属物品中感应出涡流,这个能量损失来源于振荡电路本身,相当于电路中增加了损耗电阻。如果金属物品与线圈L较近,电路中的损耗加大,线圈值降低,使本来就处于振荡临界状态的振荡器停止工作。从而控制后边发光二极管的亮灭。
在这个电路中三极管VT1与外围的电感器和电容器构成了一个电容三点式振荡器。它的交流等效电路(不考虑RP和R2的作用如图5所示,当图5中三极管基极有一正信号时,由于三极管的反向作用使它的集电极信号为负。两个电容器两端的信号极性如图5所示,通过电容器的反馈,三极管基极上的信号与原来同相,由于这是正反馈,所以电路可以产生振荡,RP和R1的存在,消弱了电路中的正反馈信号,使电路处于刚刚起振的状态下。
金属探测器的振荡频率约为40KHz,主要由电感L 、电容器C1、C2决定。调节电位器RP减小反馈信号,使电路处在刚刚起振的状态。电阻器R2是三极管VT1的基极偏置电阻。微弱的振荡信号通过电容器C4、电阻器送到由三极管VT2、电阻器R4、R5及电容器C5等组成的电压放大器进行放大。然后由二极管VD1和VD2进行整流,电容器C6进行滤波。整流滤波后的直流电压使三极管VT3导通,它的集电极为低电平,发光二极管VD3亮。
在金属探测器的电感探头L接近金属物体时,振荡电路停振,没有信号通过电容器C4,三极管VT3的基极得不到正电压,所以三极管VT3截止,发光二极管熄灭。


返回顶部
刷新页面
下到页底