随着科技的快速发展,逆变器已经越来越多的出现在人们的生活中。目前,逆变器的已经在很多领域应用到,比如电脑、电视、洗衣机、空调、家庭影院、电动砂轮、电动工具、缝纫机、录像机、按摩器、风扇、照明等等。逆变器是一种能够进行电能转换的器件,当输入的是直流电是,输出就会变成交流电,而且一般是为220v50HZ正弦或方波。它与应急电源的工作原理是相反的,逆变器一般由控制逻辑、滤波电路和逆变桥组成。
逆变的概念将直流电转换为交流电的过程。
无源逆变——把直流电逆变为某一频率的交流电供给负载;
有源逆变——把直流电逆变为交流电反送到电网(或交流源)。
主要应用
各种直流电源的能源使用,如蓄电池、干电池、太阳能电池等;
交流电机调速用变频器、不间断电源、感应加热电源等电力电子装置的核心部分。
逆变电路的分类为了满足不同用电设备对交流电源性能参数的不同要求,已发展了多种逆变电路,并大致可按以下方式分类。
①按输出电能的去向分,可分为有源逆变电路和无源逆变电路。前者输出的电能返回公共交流电网,后者输出的电能直接输向用电设备。
②按直流电源性质可分为由电压型直流电源供电的电压型逆变电路和由电流型直流电源供电的电流型逆变电路。
③按主电路的器件分,可分为:由具有自关断能力的全控型器件组成的全控型逆变电路;由无关断能力的半控型器件(如普通晶闸管)组成的半控型逆变电路。半控型逆变电路必须利用换流电压以关断退出导通的器件。若换流电压取自逆变负载端,称为负载换流式逆变电路。这种电路仅适用于容性负载;对于非容性负载,换流电压必须由附设的专门换流电路产生,称自换流式逆变电路。
④按电流波形分,可分为正弦逆变电路和非正弦逆变电路。前者开关器件中的电流为正弦波,其开关损耗较小,宜工作于较高频率。后者开关器件电流为非正弦波,因其开关损耗较大,故工作频率较正弦逆变电路低。
⑤按输出相数可分为单相逆变电路和多相逆变电路。
电压型逆变电路的特点直流侧为电压源或并联大电容,直流侧电压基本无脉动;输出电压为矩形波,输出电流因负载阻抗不同而不同;为了给交流侧向直流侧反馈的无功能量提供通道,逆变桥各臂并联反馈二极管;
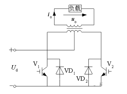
半桥逆变电路结构
应用
用于几kW以下的小功率逆变电源。
单相全桥、三相桥式都可看成若干个半桥逆变电路的组合。
半桥逆变电路工作原理V1和V2栅极信号在一周期内各半周正偏、半周反偏,两者互补,输出电压uo为矩形波,幅值为Um=Ud/2;ØV1或V2通时,io和uo同方向,直流侧向负载提供能量;
VD1或VD2通时,io和uo反向,电感中贮能向直流侧反馈;
VD1、VD2称为反馈二极管,它又起着使负载电流连续的作用,又称续流二极管。
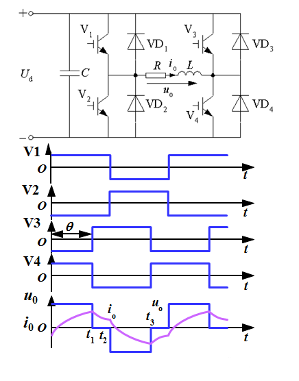
全桥逆变电路结构四个开关管和四个续流二极管构成两个桥臂,可看成两个半桥电路的组合;输出电压合电流波形与半桥电路形状相同,幅值高出一倍;

应用:单相逆变中应用广泛
全桥逆变电路工作原理同一桥臂两个开关器件不能同时导通;V3的基极信号与V1相差q(0<q<180 ) ;V3、V4的栅极信号分别比V2、V1的前移180-q ;输出电压是正负各为q宽度的脉冲;Ø改变q就可调节输出电压。


交替驱动两个IGBT,经变压器耦合给负载加上矩形波交流电压;两个二极管的作用也是提供无功能量的反馈通道;变压器匝比为1:1时,uo和io波形及幅值与全桥逆变电路完全相同。
与半桥和全桥电路的比较:
比全桥电路少用一半开关器件;比半桥电路电压利用率高;器件承受的电压为2Ud,比全桥电路高 一倍;
等效电路

三个单相逆变电路可组合成一个三相桥式逆变电路


返回顶部
刷新页面
下到页底