关键字:光控开关电路图
节日期间,企事业单位都要用彩灯装饰一下,增添节日气氛,笔者曾因彩灯的晚开早关问题苦恼过。翻阅《电子报》及相关书籍,市场寻购,都是延时控制型的。于是自制了一款光控自动开关(不延时)。该开关元件少、电路简单、运行可靠,电路如附图所示。
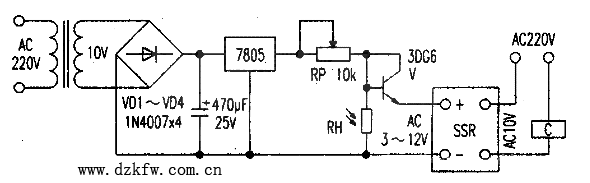
工作原理在附图中,变压器次级输出10V电压经整流滤波后,途经7805三端稳压器获得+5V工作电压。由光敏电阻RH和三极管3DG6及微调电阻RP组成光电开关。白天RH受光照呈低电阻,3DG6处于截止状态,故固态继电器SSR不工作,夜晚RH无较强光线照射呈较高电阻,3DG6获得合适偏流导通,固态继电器工作。
3DG6要求β>100,RH可用MG45型非密封型光敏电阻,RP用微调电阻器。在室内正常自然光照射RH的条件下,调节RP,使固态继电器处于临界状态即可。


返回顶部
刷新页面
下到页底