关键字:定时开关电路图,定时小吊扇
这种小吊扇进可以对行15~60min的定时。
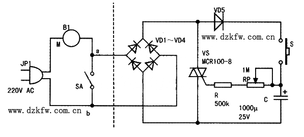
一、工作原理电路
原理下图所示,虚线左边是微型吊扇原有电路,右边是新增定时器电路。
在吊扇手动开关SA断开的条件下,按一下按钮开关SB,220V交流市电经吊扇马达M、桥式整流二极管VD1-VD4、隔离二极管VD5后,对电容器C充电,充电电压实测≤23V。
与此同时,单向晶闸管vs经限流电阻R和电位器RP获得合适触发电流导通,吊扇电机Bl通电而动转。
人手松开SB后,C通过电阻R和电位器RP放电,维持晶闸管vs继续导通。经过一段时间(延时时间),电容C两端放电电压下降到10V以下,晶闸管VS因得不到足够的触发电流而在交流电过零时关断,电机Bl电源被切断,吊扇停止运转。此时,电路本身不耗电。
简单易做的定时小吊扇time delay switch
电路中,VDl~VD4组成的桥式整流电路能使晶闸管VS导通后,电机Bl两端获得全波交流电压。VD5为隔离二极管,其主要作用是防止电容C所充电荷在晶闸管vs导通后逆向释放掉。
吊扇延时停转的时间长短,主要由电容C和RP参数大小确定,此外还与晶闸管VS最低触发电流大小有关。
二、元器件选择
晶闸管VS选用MCR100-8(0.8A、600V)或CR02AM-12(0.2A、600V)型塑封单向晶闸管,要求门极触发电流Ig≤lOμA。VD1一VD5均用1N4007型硅整流二极管。R用1/W的碳膜电阻器,C为25V容量为1000μF的电解电容。
使用时,改变电位器RP的值,即可获得不同的延时时间。按图l选用的RC组成,可以实现15—60min的定时。如果想改变定时时间,可以适当改变电阻R、电位器RP或电容C的值。
简单易做的定时小吊扇time delay switch
三、制作方法
上图所示为定时器的印刷电路板接线图。
印制板实际尺寸约为40mm×30mm。此印刷板可用刀刻制作,即用小刀(最好是旧钢锯条的断口)把敷铜板上的铜箔按图示黑粗线条划开就可以了。注意开口宽度不要小于2.5mm,且分割处不能有一丝连着。
SB按下图所示用磷铜片弯制,并用废旧发光二极管(φ5mm)做成绝缘按钮。焊接好的电路板装入体积合适的绝缘小盒内,其两根外引线头a、b不分次序并接在吊扇原有的手控开关SA两端即成。本定时器电路简洁、设计合理,只要焊接无误,不需任何调试便能正常工作。它的接入并不影响吊扇原有手动开关的平常使用。
四、应用扩展
这款定时器,除了能用在小吊扇外,还可以应用在其他一些用电器的定时上,如电灯等,只是不同的用电器其工作电流不同,会使定时的时间发生变化。在应用到不同电器时,需要对定时时间进行一下调整即可。


返回顶部
刷新页面
下到页底