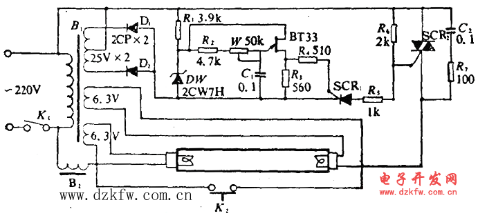
如图所示日光灯的亮度调节电路,B2是原日光灯镇流器,它不需要重新绕制。电位器W调节单结晶体管BT33的振荡频率,从而改变双向可控硅的导通角,实现交流调压。双向可控硅SCR2采用耐压在400V以上,电流为2A的管子。用作触发SCR2的小可控硅SCR1只要耐压20V,电流为几十毫安的管子就可以了。如不用SCR1,在BT33的b1极接一个脉冲变压器也行。电源变压器B1的铁芯截面积为19x19mm,初级用Φ0.15mm漆包线绕2860圈。6.3V的绕组用Φ0.59mm膝包线绕83圈,25V的绕组用Φ0.1mm的漆包线绕660图。
该电路能使40W的日光灯在10~40W范围内调光。


返回顶部
刷新页面
下到页底