一、电路原理
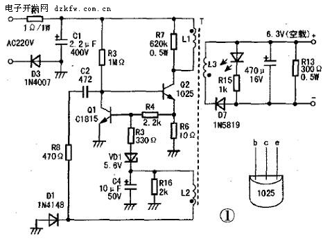
在早期的手机通用充电器电路设计时,由于考虑到锂电池与镍氢电池充电特点的不同(锂电池充电电压为4.2V-4.4V,镍氢电池充电电压为4.3V-4.5V,且在给镍氢电池充电前,应先放电,以防止出现记忆效应)因此充电器电路比较复杂,一般由开关电源、基准电压、充电控制、放电控制和充电指示等电路组成,且基准电压、充电指示及充、放电控制电路多由运算放大器控制。近年来,由于绝大多数手机采用锂电池,加之出于制造成本考虑,通用型手机充电器的电路已非常简单,实为一简单的自激式开关电源电路。图1为一款诺基亚手机通用充电器实绘电路。
AC220V电压经D3半波整流、C1滤波后得到约+300V电压,一路经开关变压器T初级绕组L1加到开关管Q2 c极,另一路经启动电阻R3加到Q2 b极,Q2进入微导通状态,L1中产生上正下负的感应电动势,则L2中产生上负下正的感应电动势。L2中的感应电动势经R8、C2正反馈至Q2 b极,Q2迅速进入饱和状态。在Q2饱和期间,由于L1中电流近似线性增加,则L2中产生稳定的感应电动势。此电动势经R8、R6、Q2的b-e结给C2充电,随着C2的充电,Q2 b极电压逐渐下降,当下降至某值时,Q2退出饱和状态,流过L1中的电流减小,L1、L2中感应电动势极性反转,在R8、C2的正反馈作用下,Q2迅速由饱和状态退至截止状态。这时,+300V 电压经R3、R8、L2、R16对C2反向充电,C2右端电位逐渐上升,当升至一定值时,在R3的作用下,Q2再次导通,重复上述过程,如此周而复始,形成自激振荡。在Q2导通期间,L3中的感应电动势极性为上负下正,D7截止;在Q2截止期间,L3中的感应电动势极性为上正下负,D7导通,向外供电。
图1中,VD1、Q1等元件组成稳压电压。若输出电压过高,则L2绕组的感应电压也将升高,D1整流、C4滤波所得电压升高。由于VD1两端始终保持5.6V的稳压值,则Q1 b极电压升高,Q1导通程序加深,即对Q2 b极电流的分流作用增强,Q2提前截止,输出电压下降 若输出电压降低,其稳压控制过程与上述相反。
另外,R6、R4、Q1组成过流保护电路。若流过Q2的电流过大时,R6上的压降增加,Q1导通,Q2截止,以防止Q2过流损坏。
二、常见故障检修
在该类充电器中,初级电路故障率较高,其常见故障现象为:次级无输出,R1烧焦。
从实修情况看,R1烧焦、开路常系Q2击穿所致,并伴有R6开路损坏。Q2击穿的主要原因是该类充电器散热空间较小且密闭,加之充电器长时间工作,Q2温度过高而热击穿。因此,建议在该充电器外壳上开几个孔,以利散热,并将Q2换为E13003(400V/1.5A/40W ),以增强电路的可靠性。
另外,L1绕组局部短路(正常时,L1绕组的直流电阻为5.5Ω~6Ω)、R7开路也会导致Q2损坏。
若更换Q2后,虽次级输出正常,但Q2发热严重.这时可适当增大或减小R8的阻值,以调节反馈量,使Q2工作正常,若R1、Q2、R6等元件正常,但次级无输出,其常见原因为R3开路。
正常工作时,C4两端电压约为6.2v,Q1、Q2的实测值见表1。
| 位号 | 引脚 | 电压(V) | 在路电阻(kΩ) 红表笔 |
在路电阻(kΩ) 黑表笔 |
| Q1 | e | 0 | 0 | 0 |
| Q1 | b | 0.6 | 2 | 2 |
| Q1 | c | 0.1 | 13 | 13 |
| Q2 | e | 0 | 0.01 | 0.01 |
| Q2 | b | 0.1 | 13 | 13 |
| Q2 | c | 310 | 105 | 58 |


返回顶部
刷新页面
下到页底