直流发电机的工作原理就是把电枢线圈中感应的交变电动势,靠换向器配合电刷的换向作用,使之从电刷端引出时变为直流电动势的原理。
图1.1是一台交流发电机的原理模型。图中,
、
为一对固定的磁极(一般是电磁铁,也可以是永久磁铁),
是装在可以转动的圆柱体表面上的一个线圈,把线圈的两端分别接到两个圆环(称为滑环)上(以后把这个可以转动的装有线圈的圆柱体称为电枢)。在滑环上分别放上两个固定不动的由石墨制成的电刷
和
。通过电刷
和
把旋转着的电路与外部电路相联接。

图1.1 交流发电机原理模型
1—磁极;2—电枢;3—滑环;4—电刷
当原动机拖动电枢以恒速
逆时针方向转动时,根据电磁感应定律可知,在线圈边(即导体)
和
中有感应电动势产生。感应电动势
的大小用式(1.1)确定。
(1.1)
——导体
或
的长度(
);
&upSILon; ——导体
或
与
之间的相对线速度(
)。
感应电动势的方向按右手定则确定。在图2.1所示瞬间,导体
、
的感应电动势方向分别由
指向
和由
指向
。这时电刷
呈高电位,电刷
呈低电位。当图1.1中电枢逆时针方向转过180°时,导体
与
互换了位置,用右手定则判断,此时导体
、
中的感应电动势方向都与图1.1所示瞬间的相反。这时电刷A呈低电位,电刷B呈高电位。如果电枢继续逆时针方向旋转180°,导体
、
又转到图1.1所示位置,则电刷
又呈高电位,电刷
呈低电位。由此可见,图1.1中电枢每转一周,线圈
中感应电动势方向交变一次,因此线圈内的感应电动势是一种交变电动势,这是最简单的交流发电机的原理。
如果想要得到直流电动势,那么必须把上述线圈
感应的电动势进行整流,实现整流的装置称之为换向器。
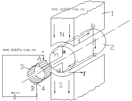
图2.2是直流发电机的原理模型,它由两个铜质换向片代替图1.1中的两个滑环。换向片之间用绝缘材料隔开,线圈
出线端分别与两个换向片相连,电刷
、
与换向片相接触并固定不动,这就是最简单的换向器。有了换向器,在电刷
、
之间感应电动势就和图1.1中电刷
、
间的电动势大不一样了。例如,在图2.2所示瞬间,线圈
中感应电动势的方向如图中所示,这时电刷
呈正极性,电刷
呈负极性。当线圈逆时针方向旋转180°时,这时导体
位于
极下,导体
位于
极下,各导体中电动势都分别改变了方向。但是,由于换向片随着线圈一同旋转,本来与电刷
相接触的那个换向片,现在却与电刷
接触了;与电刷
相接触的换向片与电刷
接触了,显然这时电刷
仍呈正极性,电刷
呈负极性。从图1.2看出,和电刷
接触的导体永远位于
极下,同样,和电刷
接触的导体永远位于
极下。因此,电刷
始终有正极性,电刷
始终有负极性,所以电刷端能引出方向不变的但大小变化的脉振电动势。如果电枢上线圈数增多,并按照一定的规律把它们连接起来,可使脉振程度减小,就可获得直流电动势。这就是直流发电机的工作原理。同时也说明了直流发电机实质上是带有换向器的交流发电机。

图1.2 直流发电机的原理模型
图1.3 直流电动机的原理模型
1—磁极;2—电枢;3—换向器;4—电刷 1—磁极;2—电枢;3—换向器;4—电刷


返回顶部
刷新页面
下到页底