一款轻巧高效的开关电源电路,LM2576 power supply
关键字:LM2576,开关电源电路
作者:张汉屏
一个性能优良的电源,是所有电子设备的能源保障。现在电子技术发展迅猛,对电源的要求更趋苛刻,特别是一些大电流、宽电压输入范围之电源更是如此。原来的串联稳压电源由于其体积大、效率低、发热严重等缺点已被逐步淘汰出局,设计者转而关注并采用轻巧、效率高的开关电源电路,并逐步延伸到各个领域应用。
其中的一款LM2576芯片性能比较优良,能在很宽的电源范围下工作;普通型的上限达到40V,而LM2576HV能达到60V,输出电流均在3A左右(散热条件良好情况下)。而且,该芯片外围元件少,调试容易,所以为很多人所采用,特别是在DC-DC变换器上应用最广泛。
但是,由于DC-DC变换器输入电源多数为化学电源,即各类电池,而电池具有内阻,空载和满载端电压变化很大,所以制造大功率电池时,为减少电池极板面积,厂家的策略往往是增加串联个体数目,以致电池标称电压有逐渐增高趋向。以自行车用48V铅酸动力电池为例,空载时为58V,满载为48V。而48V燃料电池空载更达72V,满载达48V。
显而易见,48V铅酸电池空载电压已超过LM2576上限,已接近LM2576HV输入上限,而48V的燃料电池空载已超过LM2576HV上限。而且,很多应用要求DC-DC输出5-15A的电流,这就迫使LM2576输出扩流。然而这并非用大功率管组成射极跟随就可扩展为需要值。读者也不必去尝试,其结果为大功率管无法承受功耗发热严重而损坏!
欲使系统满足高电压输入、大电流输出要求,当然最简单是改换电路结构,采用高频变压器输出的开关电源。但是某些芯片转换效率欠佳,系统体积也无法和LM2576相比;而且由于制作方面复杂性,造价也倍于后者,所以很多输入、输出电源无需电气隔离的电源。设计者总不太喜欢采用,而希望保留简洁的LM2576平台,加以外围辅助电路,从而实现其性能提升,制作出具较高性价比的应用产品。
笔者接受一个在48V燃料电池控制龟源的任务:其参数为输入电压空载72V到过流时39V,输出为30V稳压、输出7A。而且有体积上的限制,不允许安装大的散热片。其中如此高的电源电压一项,就使很多元器件失去用户之地!为此,需要对输入电压、输出电流的扩展电路作一个全新的两全齐美的设计,才能脱出困境!
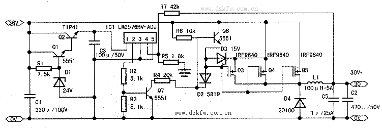
反复推敲得出具体设计方案:芯片电源用简易串稳电源24V供电,用VMOS管作为开关管替代芯片片内开关管;芯片仅作为VMOS管驱动器应用。
实现此方案的关键问题,就是要求电路既要有效传送驱动信号,又要同时保证外接VMOS管与芯片输出端电位隔离良好,避免芯片与管子同归于尽的后果发生!
经过多次试验,简易电路具体结构介绍如下图所示。其中,R1、Q1、D1、Q2组成24V简易稳压电路。C3为滤波电容。该电源为LM2576提供稳定23V电源。当电源输入低于25V时不能稳压,但仍能在20V以上电压工作。如欲工作于低电源电压,可降低D1稳压值,实验可低到10V应用,而不影响电路工作,但Rl须调整阻值,使稳压管正常工作。由于该电源仅提供小电流输出的LM2576芯片,所以Q2不需装散热片。
在电源上限不超过芯片输入电压上限值时(LM2576HV-60V,LM2576-40V)可省略稳压电路,电池直接LM2576电源端。
LM2576输出由R2、R3分压驱动Q7导通与截止。Q7导通时,电流从VCC流出经D3、D2、R4、Q7到地。D3产生15V电压供给Q3~Q5栅压,而Q6因D2导通而反偏充分截止。截止时的高阻不构成Q3~Q5栅压的旁路。从而使Q3~Q5充分导通,C2充电。Q7截止时,VCC→D3→D2→R4电流回路被切断,D3无压降使Q3~Q5栅压消失,而D2截止,不构成对Q6反偏箝位。Q6因R6供电导通,致使Q3~Q5栅极同源极短接,从而迫使Q3~Q5迅速关断,C2仍由D4产生下正上负的感生电压通过L1充电。
此状态直至Q7重新导通结束。
Q7由LM2576输出端口经R2、R3分压驱动,高电平时导通,低电平截止。由于VMOS管驱动电流很小,因此5551驱动3~4个VMOS是没有问题的。必要时更换TIP41驱动能力更大,能驱动更多的VMOS管。
LM2576-ADJ(ADJ为输出电压可调型)的电压调整机理,由R7、R5阻值调整构成调节系统。
其公式VOUT(V)=1.23*(R7/R5+1),附加的电子开关不影响其数值。电路中R7为42K,R5为1.8K;实测输出电为30.3V。同计算值非常接近。
电路调试结果:品质极其良好,基本上合乎设计要求;输出电压稳定,发热很小;在不加散热片情况下,3个IRF9540并联输出4A时工作3小时管子不烫手;而LM2576和20100肖特基二极管根本无温升。装上散热片后,可输出7.0A电流。转换效率同Im2576单独应用相仿。其性能竟满足了要求极其苛刻的军方要求:输入电压22~80V;输出电流1~7A;全天候工作温升<27℃的来说,系统提升应用效果相当成功。
此外,本电路还可派生出很多应用电路,如可以用作有刷直流电机控制器;R7改成电位器可平稳的调节转速;R5并接适当阻值负温热敏电阻后,使成为一个DC无刷风机控制器;可根据器件温升自动调节风机转速…,作为一个高效、宽范围电源输入、大功率输出平台;肯定有很多等待读者开发用途!
注:LM2576---TO-220封装
IRF9540、TIP41、20100均为TO-220封装
D1、D2、D3均为贴片1005封装
Ql、Q6、Q7为贴片SOT-23封装
R1-R7为贴片0805封装
L1中12X16工字磁芯用1.35漆色铜线绕制,电感量47μH-100μH
C1、C3为RB.3/.6封装
C2为RB.2/.4封装
C5为贴片1005封装


返回顶部
刷新页面
下到页底