文章描述了镍氢电池充放电原理和特性的分析,并根据镍氢电池充放电管理需求,提出了一种基于C8051F单片机对多节镍氢电池串联电池组进行综合监测和管理的方案,通过设计:实现了新型电池管理电路,包括完整的硬件和软件解决方案。
随着中国煤炭工业的发展和矿山装备技术的进步,我国对煤矿甲烷安全监控系统,运输监控系统,应急救援系统等使用的后备电源的设备要求越来越高,尤其是其安全特性。作为煤矿用后备电源的重要的组成之一,镍氢电池无论在安全性上,还是可靠性,成本等方面,都具有较大优势。镍氢电池组是一个串联的组成系统,其中任何单节电池损坏必将影响整个电池组,如何在保证镍氢电池安全性能的同时,发挥电池自身最大的能量效率,这是矿用镍氢电池管理系统研究和设计的方向。
1 镍氢电池充放电原理
镍氢电池(金属氢化物镍蓄电池)采用储氢合金,在充电的时候可以存储数大量的氢气形成金属氢化物,将电能转换为化学能;放电的时候又能将存储的氢气释放,将化学能转换为电能。其基本电化学反应为:Ni(OH)2+M〈=〉NiOH+MHab(式中:M为储氢合金,Hab为吸收的氢气)。
在电池充电后期和充电结束时,还伴随发生下列反应:

基于以上3个电化学反应,镍氢电池的充放电表现如下特性:
1)充电电流取决于电池容量C。充电电流过大会使电池内部压力升高较快,电池自身的安全阀打开,电池漏液,引起安全问题。在设计中,充电电流宜取0.1C。
2)电池充电饱和后,极板上的物质已经全部中和,电池电压不再上升而是略有下降。此时,若继续大电流充电,将会大大影响电池的寿命,此时的电压称为充电终止电压,一般单节电池不超过1.5 V。充电终止电压与电流充电率、环境温度、电池生产工艺等因素有关。
3)电池放电结束后,极板上的活性物质已经全部消耗。如果继续对外放电,会造成负极析出的氢气无法中和,电池内部压力上升,安全阀打开,对外析氢,引起安全问题。
20节串联镍氢电池的充放电曲线如图1所示。

图1 镍氢电池组充放电曲线
根据镍氢电池的充放电特性,设计了一种新型的智能型镍氢电池组管理电路,能够支持多达20节镍氢电池串联的电池组管理,能够实现对单节电池和整体电池组的有效检测与控制,可以更高效,更安全的完成镍氢电池的充放电管理功能。
2 镍氢电池管理系统硬件设计
采用由恒流充电电路,实时电压检测电路,CPU控制电路和其他外围电路共同构成的镍氢电池充放电管理系统。
1)恒流充电电路
恒流充电电路采用闭环控制和脉冲调制方式实现充电电流的恒流负反馈控制。充电电路原理图如图2所示。

图2 充电电路原理图
CPU输出占空比可调的PWM信号,控制NPN三极管5551的通断,最终实现对场效应管通断的控制,达到电流控制的目的。同时CPU实时检测当前电流值,并根据实时电流值闭环调节PWM信号的占空比,从而实现充电电流的恒流闭环调节。
在一个PWM周期中,当PWM信号为高时,低边NPN三极管5551导通,使高边NPN三极管5551基极拉低,三极管关断,场效应管门级变为低电平,场效应管关断;当PWM信号为低时,低边NPN三极管5551关断,高边NPN三极管5551被上拉电阻拉高,三极管导通,场效应管门级变为高电平,场效应管导通;在每一个PWM周期中,重复以上过程。
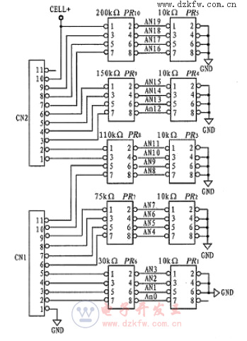
2)实时电压检测电路
针对煤矿产品的特点,镍氢电池充放电管理系统应至少能够实现对20节串联电池组中任一单节电池的实时进行监控。要求检测电压范围宽,精度高,响应时间快等一系列特点,因此,必须对20节电池进行同时测量,减少实时误差,并通过内部软件校正实现测量精度要求。测量电路原理图如3所示。

图3 实时电压检测电路原理图
20节电池电压经过不同阻值的分压电阻,进入CPU进行AD转换,得到不同AD采样值,再通过内部软件恢复出实际的电压值,相邻电压值之差即是单节电池电压。
系统设计了5组分压电阻,实现了从1/3到1/20共5组分压比。针对不同的电池电压,将分压后的电压数据尽可能的包含在AD采样的满量程内,提高了AD采样的精度。简化AD外围电路,不经过运算放大器进行放大,直接进入CPU的模拟采样端口,消除了由外部器件差异引入的采样误差;通过CPU对模拟端口同时采样,消除了由采样时间差异引入的时差误差。
CPU选用的是Silicon公司推出的8051F5XX系列CPU,它内部包括一个12 bit的ADC,且支持多达32个单端输入,完全符合系统设计要求。
3 镍氢电池管理系统软件设计
软件设计考虑到采集单节电池电压、实时电流、电池温度、记录充电时间以及电压变化量等参数,综合判断当前电池状态,控制电池充放电启动和结束,并实时检测是否有单节电池异常、短路、温度异常、放电大电流、充电大电流等多种异常情况,对外输出电池基本状态信息和报警信号。软件按功能可分为PWM控制模块、计时模块以及电压检测、电流检测、温度检测模块等几部分。
管理系统工作时,CPU首先判断是否外接负载(放电)或外接电源(充电)。当检测到外接负载时,系统打开放电场效应管,镍氢电池对外放电。在放电过程中,CPU不断检测放电电流和单节电池电压,当监测到过高的放电电流或负载短路时,CPU立即关断放电回路,并持续对外报警;当监测到单节电池电压低于额定门限(1.0 V)时,CPU立即关断放电回路。
当管理系统检测到外接电源时,系统进入充电状态。CPU输出PWM波形控制充电场效应管,并不断检测充电电流,实时进行闭环调节,实现充电恒流控制目的。在放电过程中,CPU不断检测充电电流和单节电池电压,当监测到过高的充电电流或负载短路时,CPU立即关断充电回路,并持续对外报警;当监测到单节电池电压高于额定门限(1.5 V)时,CPU立即关断充电回路。
系统软件的核心部分为AD数据处理和PWM闭环控制两个模块。下面给出这两部分的相应程序,编译环境为Silicon Laboratories IDE。
AD数据处理模块程序代码,以充电电流数据滤波处理为例:



4 结论
设计了一款基于C8051F的镍氢电池管理系统,支持最高20节镍氢电池串联电池组,能够实时检测每一只单体电池电压,充放电电流等参数。通过简化外部采样电路,使用高精度ADC和CPU内部参考电平,通过优化软件参数和滤波算法,在实际工程应用中达到了0.01 V的采样精度,误差≤1 mV。建立了电池组管理系统电路的设计模型,在实际应用中,根据电池的不同类型和使用工况条件仍需要进一步完善和研究。


返回顶部
刷新页面
下到页底