化工泵所采用的电机基本上都是交流电机,交流电机包括同步电机和异步电机两大类。虽然同步电机和异步电机在运行原理和结构上有很多不同,但它们之间也有许多相同之处。因此,我们将着重对交流电机的共同问题进行讲解。
1、三相异步电动机的结构
在各类电动机中,笼型转子三相异步电动机是结构简单、运行可靠、使用范围最广的一种电动机,以下就以这种电动机为例简单介绍旋转电机的基本原理。
三相异步电动机分成两个基本部分:定子(固定部分)和转子(旋转部分)。其基本构造如下图:
图1
定子:由机座和装在机座内的圆筒形铁心以及其中的三相定子绕组组成。机座是用铸铁或铸钢制成的。铁心是由互相绝缘的硅钢片叠成的,铁心的内圆周表面冲有槽,用以放置对称三相绕组AX,BY,CZ,有的联接成星形,有的联接成三角形。
转子:转子是由转子铁心和力矩输出轴组成。转子铁心是圆柱状,也用硅钢片叠成,表面冲有槽。铁心装在转轴上,轴用以输出机械力矩。
图2
2、电动机旋转实验
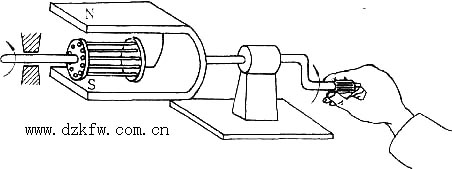
三相异步电动机接上电源,就会转动。这是什么原理呢?为了说明这个转动原理,我们先看一个演示。
下图所示的是一个装有手柄的蹄形磁铁,磁极间放有一个可以自由转动的、由铜条组成的转子。铜条两端分别用铜环联接起来,形似鼠笼,作为鼠笼式转子。磁极和转子之间没有机械联系。当我们摇动磁极时,发现转子跟着磁极一起转动。摇得快,转子转得也快;摇得慢,转得也慢;反摇,转子马上反转。
图3
从这一演示得出两点启示:第一、有一个旋转的磁场;第二、转子跟着磁场转动。异步电动机转子转动的原理是与上述演示相似的。那么,在三相异步电动机中,磁场从何而来,又怎么还会旋转呢?下面就首先来讨论这个问题。
3、电动机内旋转磁场的产生
三相异步电动机的定子铁心中放有三相对称绕组AX,BY和CZ。设将三相绕组联接成星形,接在三相电源上,绕组中便通入三相对称电流其波形如下图所示。取绕组始端到末端的方向作为电流的参考方向。在电流的正半周时,其值为正,其实际方向与参考方向一致;在负半周时,其值为负,其实际方向与参考方向相反。
定子铁心和定子绕组并不转动,定子绕组中的三相电流随着时间和相位的变化,三相磁势相加便形成了旋转的磁场。
旋转的定子磁场在切割转子导条时,会在转子绕组中感应出一个转子磁场,引起转子旋转。由于感应励磁场的需要,转子的转速总是比定子磁场的转速稍慢,有一个转差,这就是感应异步电动机名称的来历。
如果转子是一个永磁体或是一个由转子励磁绕组产生的恒定磁场,那么转子的转速就与定子磁场的转速同步,就形成同步电机。


返回顶部
刷新页面
下到页底