此电源有两种,输入电压不同分为12V和24V两种,输出电压均为19V。
一、12V转19V电路
车用笔记本电源的设计制作DC-DC power supply
电路如上图,此电路属升压型稳压电路,采用UC3843作为控制lC,可将10.5~15V直流输入电压转换为直流19V,最大输出电流约为3A,效率在82%~87%左右。电路的原理很简单,就是通过IC输出的脉冲控制开关管Q03的开与关,将电感L02上产生的反电动势叠加到输入电压上,使得输出电压升高。再通过IC占空比的调整,得到所需要的稳定的19V输出电压。UC3843的工作频率由其4脚外接的RC数值决定,本电路约为170kHz。输出电压的数值则由其2脚外接的分压电阻的阻值决定,通过改变电阻的大小比例,就可以在一定范围内得到所需的电压了。下图为对应的PCB图。
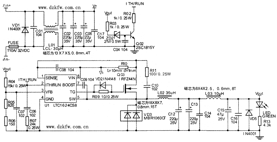
二、24V转19V电路
电路如下图,这里的电路就是降压型的稳压器了,为了获得更高的转换效率,在此采用的是Linear公司的表贴安装产品LTC1624CS8,这是一种定频为200kHz的电路。
输出电压的数值则由其3脚外接的分压电阻的阻值决定。下图是电路板元件安装面实拍。
车用笔记本电源的设计制作DC-DC power supply
三、制作说明
具体制作时,请仔细对照电路原理图中的元件标注值,严格选用质量上等的元件,对于电阻器件建议采用五色环的,小容量电容建议使用固体钽电容。两种电路中的电感器件,除主电感L02不同外,其它两个L01及L03均相同。L01采用0.8mm线在13×7×5mm的磁芯上双绕4T,L02采用0.8mm线在18x8x7的磁芯上绕,升压电路为30T、降压电路为15T,L03采用0.6mm线在8×4×2.5的磁芯上绕8T。主开关管及快恢复二极管一起安装在经弯角处理的铝制散热片上,尺寸为55×55mm、厚度为1.8mm,并要在金属封装的主开关MOS管上安装绝缘导热片及绝缘扣,当然涂抹适量的导热硅脂也是必不可少的。
最后还要提醒大家注意,制作过程特别是焊接过程中,一定要采取良好的防静电措施,以防MOS、IC等器件损坏!


返回顶部
刷新页面
下到页底